Paten Mesin 2 Stroke Kawasaki 4-Silinder Bocor, Buat Motor Listrik?
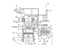
NaikMotor - Paten sketsa mesin 2 stroke Kawasaki bocor. Inovasi baru dari pabrikan Jepang ini dirumorkan akan dipasang di sepeda motor listrik.
Rush Lane menyebutkan...
Melipir dari KTM ke Honda, Espargaro Curhat di Instagram
NaikMotor - Pol Espargaro hengkang dari KTM dan bergabung dengan Repsol Honda MotoGP mulai tahun depan. Setelah berjuang bersama KTM selama 4 tahun, Espargaro...
Ternyata Ini Alasan Denchas Doyan Yamaha RX-King
NaikMotor - Masih mengulas hobi lain dari Denny Chasmala atau Denchas yang identik dengan koleksi Vespanya. Namun, ternyata sekarang Denchas doyan Yamaha RX-King hingga...
HRC Konfirmasi Crutchlow Keluar, Digantikan Alex Marquez
NaikMotor - Cal Crutchlow tidak lagi menjadi bagian tim LCR Honda tahun depan. HRC konfirmasi Crutchlow keluar dan digantikan Alex Marquez.
Sepert LCR Honda, HRC...
Bangkok International Motor Show ke-41 Digelar, ini List Motor-Motor Barunya
NaikMotor - Bangkok International Motor Show (BIMS) ke-41 digelar 15-26 Juli 2020 ini. Tetapi BIMS ke-41 ini digelar berbeda, diselenggarakan sesuai regulasi pemerintah Thailand...
Sempat Anjlok, Penjualan Suzuki Kembali Meningkat di PSBB Transisi
NaikMotor - Meski Suzuki juga menurun pemasukannya karena Covid-19, tetapi sejak PSBB Transisi, rupanya penjualan komponen suku cadang sudah kembali meningkat dan berangsur pulih.
Banyak...
Promo Service Terjangkau AHASS Wahana Hingga Agustus 2020
NaikMotor - Main Dealer sepeda motor Honda Jakarta dan Tangerang, PT. Wahana Makmur Sejati (WMS) menggelar Paket Istimewa untuk Hondamu (Pak Imun) hingga Agustus...
GoRide Sudah Kembali Beroperasi di Bogor, Depok dan Bekasi
NaikMotor - Aplikasi GoRide sudah kembali bisa digunakan di beberapa wilayah setelah beberapa bulan lalu berhenti imbas Covid-19. GoRide kembali beroperasi di Bogor, Depok,...
Perhatikan, Ini Sebab Munculnya Karat Pada Tangki Motor
NaikMotor - Meski Jarang terjadi, tangki sepeda motor bisa timbul karat jika beberapa hal diabaikan oleh pemiliknya. Berikut penyebab karat pada tangki sepeda motor.
Posisi...
Sepeda Motor Basis Jawa Classic Sudah Memenuhi Standar Emisi Terkini
NaikMotor - Mahindra Mojo 300 yang menjadi basis sepeda motor Jawa reinkarnasi sudah memenuhi standar emisi terkini. Mojo 300 generasi sebelumnya termasuk popular di...














