Balapan Virtual Akan Digelar Lagi Karena MotoGP Belum Jelas Kapan Mulainya
NaikMotor - Lagi-lagi jadwalnya ditunda, MotoGP mengumumkan akan menggelar balapan virtual ke-2. MotoGP Virtual Race #2 akan digelar April untuk mengobati kerinduan banyak pihak...
OJK: Begini Biar Dapat Keringanan Kredit Kendaraan Sesuai Perintah Jokowi
NaikMotor - Otoritas Jasa Keuangan (OJK) merilis cara untuk mendapat relaksasi kredit kendaraan bermotor di tengah pandemi Covid-19. Ada beberapa tahapan proses yang wajib...
BMW eCall Telah Selamatkan 2.500 Jiwa Per Tahun
NaikMotor - Sebuah sistem untuk mencari bantuan saat kecelakaan telah diterapkan BMW Motorrad, sejak 2017. BMW eCall diklaim telah menyelamatkan 2.500 jiwa pertahun.
Menurut sebuah...
Jakarta Darurat Corona, Layanan SIM Ibukota Ditutup Sampai Masa Tanggap Darurat Selesai
NaikMotor - Angka kasus covid-19 di Indonesia semakin tinggi. Update total kasus hari ini sudah melewati angka 1.000 kasus. Ditlantas Polda Metro Jaya menetapkan...
Menurunnya Polusi Dunia Jadi Hal Positif dari Pandemi Covid-19
NaikMotor - Pandemi corona membuat banyak negara menghentikan kegiatannya baik skala kecil maupun besar. Masyarakat juga dianjurkan untuk tetap di rumah, sehingga jalanan menjadi...
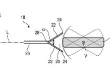
BMW Patenkan Crumple Zone Buat Produk Sepeda Motornya
NaikMotor - Pabrikan BMW Motorrad mengajukan paten penyerap energi tumbukan. BMW patenkan crumple zone untuk produk sepeda motor.
Crumple zone sudah diterapkan pada mobil sejak...
Sebaran Covid-19 Meluas, Tidak Mempengaruhi Penjualan Motor Bekas
NaikMotor - Meluasnya penyebaran virus Corona nampaknya belum mempengaruhi penjualan motor bekas. Para peminat motor second di beberapa wilayah animonya masih bagus.
Meski diprediksi market...
#dirumahaja: Wahana Honda Home Service Jemput ke Rumah Kok!
NaikMotor - Tagar #kamudirumahsaja, ajakan dalam mengatasi penyebaran virus Covid 19 untuk berdiam di rumah sesuai anjuran pemerintah direspons oleh pihak Wahana Honda. Salah...
Triumph Recall Ratusan Unit Sport Touring Trophy Karena Berisiko Kecelakaan
NaikMotor - Triumph melakukan recall atau penarikan ratusan unit motornya dari berbagai tahun. Penarikan dilakukan karena mesin motor berpotensi rusak sehingga risiko kecelakaannya melambung...
Pandemi Corona Tinggi, MV Agusta dan Piaggio Stop Beroperasi
NaikMotor - Sebagai negara yang terdampak covid-19 dengan angka tinggi, pemerintah Italia akan menghentikan pabrik-pabrik motor untuk beroperasi. Contohnya antara lain adalah MV Agusta dan...















