NaikMotor – Yamaha dikabarkan tengah mengajukan paten mesin turbo 3 silinder untuk model naked besar. Rumornya, rancangan Yamaha itu bisa mengikis pengeluaran emisi hingga 30%.
Blogo dari Italia mengungkapkan bahwa Yamaha sedang mengerjakan sepeda motor turbo dengan 3 silinder. Bennets pun tampaknya mengonfirmasi hal tersebut dengan membagikan desain paten yang baru diajukan.
Dengan sistem kompresi turbonya, pabrikan Jepang ini menjamin pengurangan emisi sebesar 30%. Yamaha kemungkinan telah bersiap-siap menghadapi regulasi emisi yang mungkin akan semakin ketat.
Menelaah dari gambar paten yang tersebar, motor turbo ini terlihat seperti MT-10, sementara prototipenya ditenagai mesin berdaya 180 hp/8.500 rpm dengan torsi lebih dari 170 Nm/3000-7000 rpm. Kuda besi turbo ini disebut harus memiliki tenaga tinggi dan torsi maksimum yang sulit dijangkau dengan mesin lain, serta mendekati batasan emisi berikutnya.
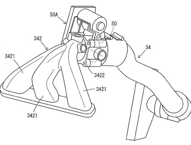
Lewat gambar paten, terlihat di bagian depan ada turbin dan intercooler yang berada di tempat biasanya radiator diletakan. Sementara itu, tentang elemen karakteristik lainnya, yaitu pembuangan, nampaknya gas buang akan mencapai turbin lewat 3 manifold, lalu keluar dalam bentuk manifold tunggal dalam dimensi besar. Ditempatkan pula 1 katalis setelah turbin dan yang kedua ada di dalam ekspansi.
Hingga saat ini, belum diketahui apakah kuda besi bermesin turbo ini akan diproduksi atau tidak. (Litha/Prob/NM)







