NaikMotor – Michelin mengajukan paten untuk motor penggerak listrik yang ditempatkan di fender belakang. Paten ini berguna untuk membantu memutar ban seperti saat mundur.
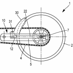
Dilansir dari situs Motorcycle, Michelin mengajukan paten berupa roller yang disembunyikan di fender dan ditenagai oleh motor listrik kecil. Motor friksi itu diaktifkan secara remote dengan tombol di setang, unit tersebut akan menekan roller ke ban belakang, roller pun terputar berkat motornya dan kemudian ban berputar maju atau mundur karena gesekannya.
Lewat gambar paten, motor friksi kecil itu bertegangan DC 3.6V dengan torsi sekitar 2 hingga 4 Nm yang diklaim bisa membuat motor melaju dengan kecepatan 1 km/jam. Motornya sendiri didukung baterai Li-ion 3.6V 2Ah yang bisa diisi ulang dan diposisikan di fender.
Sistem ini dapat membuat berkendara jadi lebih mudah bermanuver misal harus keluar masuk area sempit seperti di tempat parkir dan membantu menanjak dengan lebih mudah. Daya motor yang rendah juga disebut dapat meminimalisir aus ban yang berlebihan.
Desain ini pun bisa dipasang ke swingarm konvensional dan Michelin bisa memasarkannya sebagai kit aksesori yang cocok untuk berbagai sepeda motor dan mudah diasang.
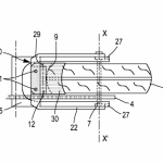
Dikatakan pula paten ini bisa diterapkan di roda depan dengan memasang bagiannya ke garpu, meski pengaturan pada roda belakang lebih sederhana dan bisa meng-handle getaran lebih sedikit dibanding yang depan. (Litha/Prob/NM)










