Garis pemisah tersebut dibentuk untuk memungkinkan bagian penutup terkelupas ke bawah, menciptakan deflektor untuk mengarahkan airbag ke arah tubuh bagian atas dan kepala pengendara.
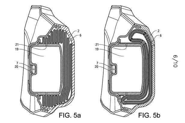
Airbag tersebut dapat disimpan dengan cara dilipat atau digulung di balik penutupnya (Fig. 5a dan 5b). Ketika mengembang, kantung udara pada dasarnya menciptakan dinding kain yang mengembang di depan pengendara, menyerap energi sebelum terjadi benturan keras. Seperti halnya airbag Gold Wing, sistem ini dirancang untuk bekerja secara khusus pada tabrakan frontal.
Sama seperti Gold Wing, MP3 sangat cocok dengan kantung udara dalam situasi ini. Sepeda motor ini memiliki jarak sumbu roda yang relatif panjang dan pusat gravitasi yang rendah, sehingga kecil kemungkinannya dapat melempar pengendara ke atas mobil. (Fernando/Contrib/NM)





