Paten lainnya menyoroti sistem pendinginan baru untuk mesin V4. Pendinginan dilakukan melalui pipa yang ditempatkan di dalam sudut V antar silinder, dengan fokus utama pada pendinginan deretan silinder belakang yang biasanya bekerja pada temperatur lebih tinggi.
Hal yang paling menarik dari dokumen paten ini adalah tingkat detail visualnya. Jika dibandingkan paten-paten V4 Honda sebelumnya yang terkesan abstrak, gambar kali ini terlihat sangat matang. Ini mengindikasikan bahwa Honda kemungkinan sudah melangkah lebih jauh dari sekadar konsep di atas kertas.
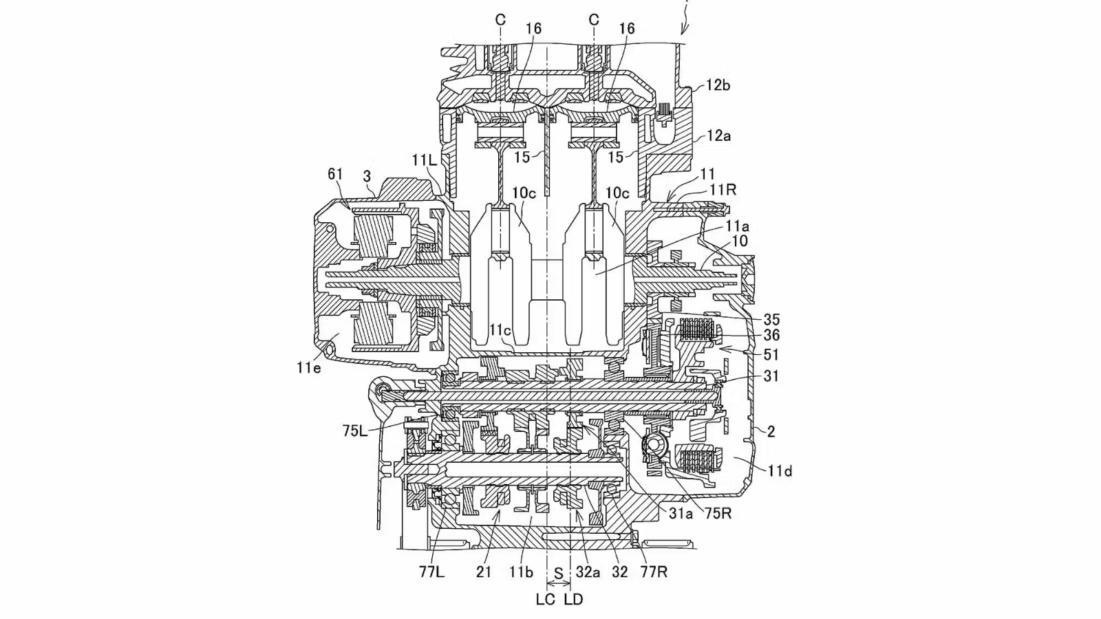
Bagi penggemar Honda V4 lawas, mesin VFR 1200 tentu masih lekat di ingatan. Mesin tersebut dikenal sangat kokoh, namun juga berat karena penggunaan material tebal. Honda tampaknya belajar dari pengalaman itu. Dalam paten terbaru, mesin V4 terlihat jauh lebih ringkas, terutama pada area rumah mesin dan transmisi.
Soal karakter mesin, V4 1200 cc generasi terakhir Honda dikenal menggunakan konfigurasi “big bang” berkat offset pin engkol 28 derajat dan sudut silinder 76 derajat. Konfigurasi ini menghasilkan urutan pembakaran khas dan tidak memerlukan poros penyeimbang.
Namun, paten terbaru justru menampilkan keberadaan poros penyeimbang yang ditandai jelas, sementara sudut silinder belum dijelaskan secara spesifik. Dari ilustrasi yang ada, sudut silinder tampak mendekati 90 derajat, yang mengarah pada karakter pembakaran lebih merata. Jika benar, suara dan karakter mesin V4 Honda terbaru ini dipastikan akan berbeda dibandingkan mesin V4 milik Aprilia maupun Ducati.




