NaikMotor – Honda dikabarkan akan menciptakan naked listrik berbasis CB125R yang terinspirasi dari motor gaya retro. Desas-desusnya, pabrikan Jepang ini bahkan sudah memasuki tahap akhir pengembangan motor.
Kabar baru lagi dari Honda yang mulai aktif menunjukkan inovasinya di dunia motor listrik. Kali ini, pabrikan Jepang tersebut disebut-sebut dalam progres pembuatan naked listrik yang berbasis Honda CBR125R bergaya retro. Electrek menyebutkan mereka sudah mematenkan desain lengkapnya dan telah memasuki tahap akhir pengembangan sepeda motor listri mereka.
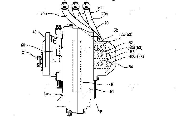
Meski belum memiliki nama secara resmi, tetapi dari gambar paten yang diajukan oleh perusahaan dengan jelas menampilkan rangka dan bodi CBR125R yang memuat drivetrain listrik, termasuk gambar detail motor listriknya.
Kemungkinan tenaga yang dihasilkan oleh motor naked listrik ini tidak akan jauh berbeda dengan versi motor bensinnya atau yang bertenaga gas. Pada CB125R biasa, motornya mampu menghasilkan 13 hp atau sekitar 10 kW, dan mampu melaju hingga 130 km/jam. Sedangkan pada versi listriknya, untuk urusan kecepatan diperkirakan akan sama, tapi kemungkinan akselerasinya akan lebih cepat dan torsinya lebih tinggi.
Naked Listrik Honda CB125R ini dikabarkan oleh Visordown akan mirip dan menggunakan setidaknya 75% komponen dari CB125R bertenaga gas untuk membantu menyederhanakan jalur pengembangan dan produksi, serta mengurangi biaya, dan mempercepat masuknya sepeda motor ke pasaran. (Litha/Prob/NM)






